摘要:采用多功能電力儀表采集變電所內10KV及0.4KV配電回路的各種電參量和開關信號。系統采用現場就地組網的方式,組網后通過現場總線通訊并遠傳至后臺,通過Acrel-2000型電力監控系統實現配電所配電回路用電的實時監控和管理。

關鍵詞:建筑;變電所;Acrel-2000;電力監控系統;

0 概述

烏魯木齊疾控中心項目位于新疆維吾爾自治區烏魯木齊市新市區國秀家園東門南側,此次需要對配電室內的高、低壓配電系統做一套電力監控系統

高壓系統為2條進線,2條出線,合計10面配電柜。

低壓系統共有2臺變壓器,合計17面,系統進出線回路共63條。

1 需求分析

為保證生產管理用電負荷的統計與分析及對危險源實時監控。需要對現場的10KV高壓配電柜及0.4KV低壓配電柜進行電壓、電流、功率等參數進行實時在線監控。一旦監控點被監視參數異常,能夠及時檢測報警,有關人員采取必要的措施,避免安全事故的發生。自動抄表功能節省了人力物力,電流趨勢曲線功能能夠直觀的顯示各回路的工作狀態與時間。

數據采集

自動采集現場所有10KV回路及0.4KV回路多功能儀表的模擬量數據,自動采集現場開關狀態以及故障狀態等開關量數據,自動采集無線測溫傳感器的實時數據。

支持實時采集、自動周期采集(定時采集)可配置周期(1分鐘~24小時)。

支持多線程處理機制,提高數據采集效率,能同時對多個設備進行數據采集。

數據實時顯示采用配電室主接線圖直觀顯示模式,各回路故障狀態直觀可見。

數據查詢與展示

能方便實現各級管理人員的查詢,查詢界面能適應各級管理人員的要求能夠支持靈活的條件組合查詢。

數據展示功能按照不同用戶的不同的權限,分為操作層、管理層、決策層三層用能展示。

權限管理

對不同用戶賦予不同角色的權限,能授權到功能子菜單、具體檔案記錄、數據記錄等。

系統具備合理完善的用戶安全控制機制,能使應用環境中的信息資源得到合理地保護,防止信息的丟失、失竊和破壞。

故障報警

故障判斷與報警具有故障自動判斷并采用聲光方式報警功能。報警類型包括現場多功能儀表與監控系統通訊故障等。報警時間自動記入系統數據庫,方便用戶查詢,工作人員可隨時掌握烏魯木齊疾控中心項目變電所配電回路的實時運行狀態,發現變配電運行故障并作出相應處理,提高變配電的管理效率,提升電力系統安全性、可靠性。

2  系統方案

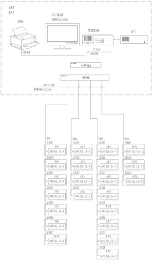
安科瑞Acrel-2000電力監控系統根據烏魯木齊疾控中心項目變電所現場實際情況,7臺高壓柜多功能電力儀表,63臺低壓柜多功能電力儀表采用屏蔽雙絞線分4根總線接至4口的通訊管理機上,再由網絡傳輸至后臺主機,保障了變電所電力監控系統傳輸的穩定性與實時性。如下圖所示:


系統結構拓撲圖

1)站控管理層

站控管理層針對電力監控系統的管理人員,是人機交互的直接窗口。在烏魯木齊疾控中心項目中主要指置于變電所監控室的監控主機。

2)網絡通訊層

通訊層主要是由以總線網絡組成。總線網絡的主要功能是實現現場高低壓柜上安裝的多功能儀表與站控管理層之間的數據交互,使配電系統管理集中化、信息化、智能化,提高了配電系統的安全性、可靠性和穩定性,達到了無人值守的目的。

3)現場設備層

現場設備層是數據采集終端,主要由10KV高壓以及0.4KV低壓配電回路的多功能電力儀表組成,各智能設備通過屏蔽雙絞線RS485接口,采用MODBUS通訊協議總線連接接入監控主機進行組網,實現遠程控制。

高低壓電力儀表現場連接示意

現場高低壓多功能電力儀表以手拉手方式通過屏蔽雙絞線(RVSP2*1.0)進行通訊連接,每根總線連接高低壓電力儀表25只左右。具體連接示意圖如下所示:



通訊線路連接示意圖

3  系統功能

配電所實時監控系統圖為主監控畫面,主要實時監測烏魯木齊疾控中心項目變電所內所有配電回路的運行狀態。在系統圖中可以直觀的看到每路10KV配電柜及低壓進出線回路的運行參數和狀態,如:三相電壓、電流、有功功率、無功功率、功率因數、頻率等。

歷史曲線查詢功能,主要對配電回路的歷史電壓、電流趨勢曲線進行查詢。

用電量報表功能,可查詢各回路用能日報表,具備數據導出和報表打印等功能。為值班人員提供了可靠的電能報表。如下圖所示,用戶可以直接打印報表,可以以EXCEL格式另存到其他位置。

系統通訊結構示意圖,主要顯示系統的組網結構,系統采用分層分布式結構,同時監測間隔層設備的通信狀態。紅色表示通訊正常,綠色表示通訊異常。

4  結束語

在當今配電設施的應用中,建筑的配電安全性至關重要,本文介紹的Acrel-2000電力監控系統在烏魯木齊疾控中心項目的應用,可以實現對配電所供配電回路用電的實時監控。系統實現對采集數據的分析、處理,實時顯示中心配電室內各10KV配電柜回路以及0.4KV低壓配電進出線回路的運行狀態,對負載越限具有彈出報警對話框、報警聲音提示,該系統運行安全、可靠、穩定,保證了建筑的用電可靠度。

參考文獻:

[1].任致程 周中. 電力電測數字儀表原理與應用指南[M]. 北京. 中國電力出版社. 2007. 4

[2].周中等編著. 智能電網用戶端電力監控與電能管理系統產品選型及解決方案[M]. 北京. 機械工業出版社. 2011.10